首 页
关于我们
产品展示
新闻动态
成功案例
在线留言
联系我们
返回
产品展示
ZS-104,ZS-208,ZS-2016,ZS-2030
产品详情
上一页
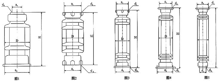
ZA-10T支柱绝缘子
下一页
ZS-10400系列
电话
邮件
地图
分享
留言
信息搜索
搜索