返回 产品展示

ZS-104,ZS-208,ZS-2016,ZS-2030

    

​产品详情

上一页

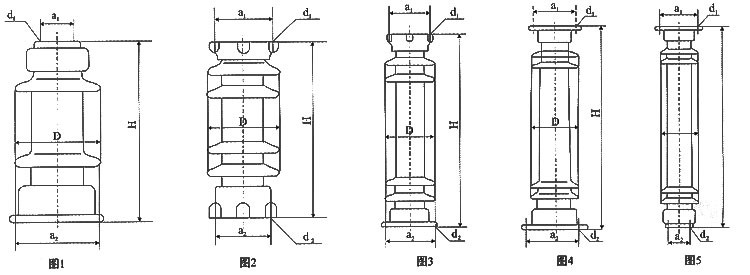
ZA-10T支柱绝缘子

下一页

ZS-10400系列