首 页
关于我们
产品展示
新闻动态
成功案例
在线留言
联系我们
返回
产品展示
ZD系列
上一页
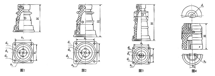
ZA-35T支柱绝缘子
下一页
ZL-108支柱绝缘子
电话
邮件
地图
分享
留言
信息搜索
搜索