首 页
关于我们
产品展示
新闻动态
成功案例
在线留言
联系我们
返回
产品展示
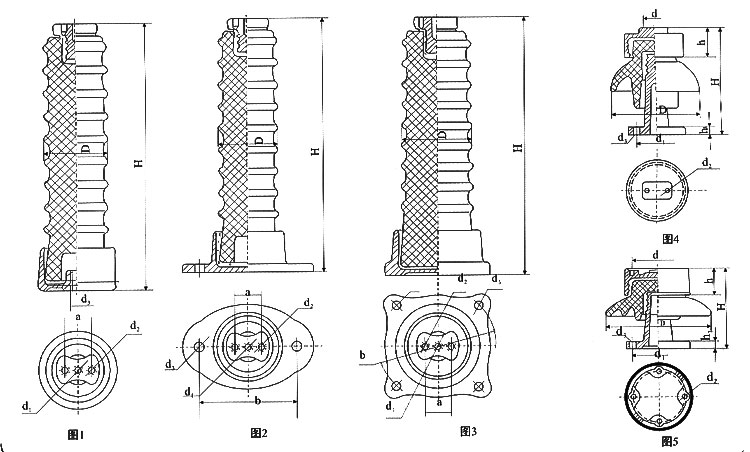
ZLD-10F系列
上一页
ZL-2016支柱绝缘子
下一页
ZN-104系列
电话
邮件
地图
分享
留言
信息搜索
搜索